catégories de produits
Nouveaux produits
SRAM a déposé un nouveau brevet en octobre 2022 qui détaille un nouveau cadran arrière électronique qui peut se recharger pendant son utilisation, sans même avoir besoin d'une batterie amovible. Le document décrit l'utilisation d'un générateur qui est couplé à la transmission à cadran arrière et peut être activé par la rotation de la molette de réglage à cadran arrière tout en pédalant pour charger en continu la batterie.
Les systèmes de récupération d'énergie embarqués réduiront certainement les pannes de batterie amovible, et cela pourrait devenir une nouvelle option pour les coureurs d'endurance ultra-longue distance à l'avenir, afin qu'ils n'aient pas à transporter de batteries de secours. Cependant, il est concevable que le mécanisme décrit conduirait à une augmentation de la résistance de la transmission, perdant ainsi une certaine énergie cinétique, ce qui finirait par affecter les performances, car elle est capturée à partir de la rotation de la roue de guidage supérieure pendant le processus de piétinement et ensuite convertie en énergie électrique.
Section de montage (gris clair), moteur d'embrayage et de changement de vitesse (jaune et vert), générateur (bleu foncé), transmission du générateur (bleu clair), bouton d'appairage AXS (rouge) et indicateur LED (petit point vert)
Concept de commutateur de chaîne arrière auto-chargeant de SRAM
Le brevet (US 20220355900 A1) détaille un cadran arrière incorporant un système de récupération d'énergie. Les paragraphes précédents évoquaient l'un des inconvénients des balayeurs de chaîne électroniques actuels : l'inconvénient de recharger la batterie et le risque inhérent de manquer de jus sur les longs trajets. Ceux qui ont la chance de posséder une transmission électronique le savent trop bien ; Peut-être pas parce qu'ils ont manqué d'énergie pendant le voyage, mais plus probablement parce qu'ils ont oublié de charger la batterie avant leur prochain trajet.
Le nouvel appareil élimine ce problème, ce qui signifie que son propriétaire n'a plus à se soucier de la charge de la batterie ou de la puissance dont il dispose.

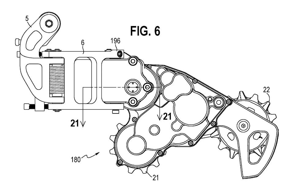
Le mécanisme principal est nécessaire pour coupler l'engrenage supérieur de la cage rotative (par 35 sur la figure 30) pour entraîner le pignon pour activer le générateur. Dans le mécanisme, le brevet décrit l'utilisation d'engrenages droits (339), de pignons (338), de courroies et de roues à courroie interne (41) pour activer la base du générateur (46), indiquant que le rapport de transmission optimal sélectionné est de 33,75 : 1. Ainsi, pour chaque tour de l'engrenage à cage, le pignon du système générateur tourne 33,75 fois. Cela signifie que le générateur est le plus efficace à des vitesses élevées.
Dans ce cas, l'étape du conducteur sur les entrées de manivelle, en fait une très petite quantité de puissance, pour faire tourner le générateur. Il est donc raisonnable de supposer qu'en chargeant la batterie de la transmission à cadran arrière tout en pédalant, vous ne perdez qu'une petite partie de votre précieuse puissance au profit du système de génération. C'est-à-dire que nous imaginons beaucoup moins de perte qu'un jeu de roues plus grand de générateurs de tambours de fleurs.

Le brevet décrit également l'utilisation d'un embrayage (290) dans le système de générateur, qui empêche les engrenages de tourner lorsque le cycliste fait marche arrière. Évidemment, ce n'est pas si courant. Mais dans certains VTT à absorption complète des chocs, en raison de la croissance de la chaîne causée par l'événement de recul de la pédale, cela se produira parfois à des degrés divers.
Le brevet de 22 pages détaille l'utilisation de transistors, de résistances et de condensateurs. En partie, le générateur est un moyen de charger la batterie dans la transmission à changement de vitesse arrière afin qu'en théorie, elle ne manque jamais de jus pendant le trajet. Cela pourrait changer la donne pour les coureurs d'endurance ultra-longue distance, qui ne peuvent pas risquer de manquer de puissance sur leurs systèmes de vitesse variable dans une course d'endurance longue distance de peur de devoir courir plus vite avant d'atteindre le prochain point de ravitaillement.
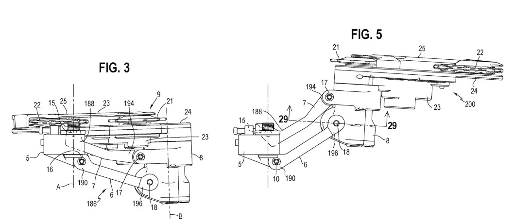
La figure 28 de la demande de brevet SRAM révèle également un nouveau mécanisme à vitesse variable. Sur le levier de vitesses arrière SRAM AXS actuel, le moteur de transmission et la batterie sont montés sur la section arrière B du levier de vitesses arrière, entre le pivot arrière de la tringlerie à parallélogramme qui régule le changement de vitesse. Ici, sur le nouveau concept de transmission à changement de vitesse arrière à chargement automatique électronique, le moteur de la transmission à changement de vitesse arrière est monté sur l'ensemble de cage, qui à son tour entraîne le pignon, l'engrenage droit, la vis (81), l'écrou (91) et enfin goupille d'entraînement (97) pour faire tourner la bielle extérieure du parallélogramme (6) afin d'effectuer le changement de vitesse. À notre grande surprise, bon nombre des composants importants (et peut-être coûteux) sont situés dans la partie la plus vulnérable du levier de vitesses : la plaque de guidage. Néanmoins, le document de brevet déclare, " Le système moteur et/ou générateur peut être monté sur et déplacé avec la plaque de guidage. En cas de dommage, la plaque de guidage dans son ensemble, y compris le système de moteur et de générateur, peut être remplacée rapidement et facilement sans qu'il soit nécessaire de remplacer d'autres pièces de la transmission."
Dans le rapport petite dent/grande dent, le plus grand mécanisme de la plaque de guidage dépasse assez loin, là où les vis de suspension de la transmission du cadran arrière touchent votre cadre (moins de 15 ans). Mais lorsque vous passez à un rapport de vitesse plus facile / denture plus grande, la transmission à cadran arrière semble être cachée sous la fourche inférieure arrière, près du train de roues.

La figure 3 montre que la transmission à changement de vitesse arrière est positionnée au niveau des dents les plus petites pour l'entretien du volant de la carte, tandis que la figure 5 montre qu'elle est positionnée au niveau des dents les plus grandes, ce qui est un mode de mouvement absolument sans parallèle mais est mieux aligné avec la chaîne de bicyclette Angle
Enfin, une fonction de changement de vitesse automatique est introduite. Les diodes et les résistances du système de générateur sont utilisées pour détecter la vitesse du générateur, qui peut ensuite être utilisée pour déterminer la vitesse de la chaîne à travers la roue de régulation, déterminant ainsi la vitesse de la chaîne. Ces informations, ainsi que les informations provenant d'autres capteurs sur le vélo, tels que ceux des manivelles et des roues arrière, peuvent être utilisées pour effectuer des algorithmes de changement de vitesse automatiques qui maintiennent le rapport de vitesse à un rapport favorable au cycliste.